GNB EFFLUENT PUMPS
GNB - SUBMERSIBLE EFFLUENT PUMP.
Model-EV400, Ev550, EV650 are recommended for handling light sewage, effluent with suspended solids upto 50mm diameter. Also useful for dewatering of mines, construction pits containing sand and or other abrasive particles. Can be used in coal handling plants in Coal Mines and Power Plants. Light in weight and portable as compared to other solid handling pumps. Can handle fiberous materials such as waste cloth, cotton waste, etc. Useful in cable trenches or tunnels in factory or handling/ removing coolant from machine pits. The impeller can also be given in SS-304 construction for handling corrosive liquids.For Handling water containing Soft Solids like Effluent, Sewage, Kitchen Waste.
- For handling water with suspended solids up to 50 mm sphere
- Non- clog vortex impeller.
- Motor- 2800 rpm motor with "F" class insulation, suitable for three phase power supply of 415 VAC, 50Hz
- Motor is jacketed & filled with the coolant. Thus the pump is suitable for working in worst working conditions having capacity
for longer period of dry running. - Dual ball bearing.
- Dual mechanical seal. - Motor side - Carbon Vs Ceramic.
Pump side - Silicon Carbide Vs. Silicon Carbide - Cable - of suitable rating X 4core double sheathed submersible cable of 10 mtrs length provided as stand length. Extra cable length can be provided with prior information
- Material Of construction - All Cast Iron with stainless steel jacket.
- Stainless Steel hardware for easy MAINTENANCE.
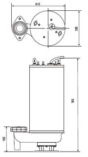
- Horizontal discharge with female flange
GNB SERIES PUMP CROSS SECTION DIAGRAM
| Sr. | PART NAME | Sr. | PART NAME |
| 1. | CABLE | 2. | CABLE GLAND |
| 3. | TOP SHELL | 4. | BOLT |
| 5. | TERMINAL BOX COVER | 6. | TOP END SHIELD |
| 7. | 'O' RINGS | 8. | MOTOR BODY |
| 9. | WINDING | 10. | STATOR |
| 11. | ROTOR | 12. | SHAFT |
| 13. | BEARING | 14. | BOTTOM END SHIELD |
| 15. | MECHANICAL SEAL | 16. | SEAL HOUSING |
| 17. | IMPELLER | 18. | NY-LOCK NUT |
| 19. | CASING | 20 | SKIRT BASE |
| 21. | DELEVERY FLANGE | 22 | BOLT |
| 23. | THRMINAL PLATE | 24 | STUD |
| 25. | LIFTING HOOK |
| MODEL HEAD IN Mtrs |
GNB-400 (LPM) | GNB-550 (LPM) | GNB-650 (LPM) | GNB-750 (LPM) | GNB-1000 (LPM) |
| 5 | 910 | 1100 | 1350 | 1450 | 1600 |
| 10 | 700 | 950 | 1100 | 1300 | 1400 |
| 15 | 480 | 700 | 900 | 1100 | 1230 |
| 20 | 200 | 450 | 650 | 850 | 1000 |
| 25 | - | 150 | 350 | 600 | 775 |
| 30 | - | - | 40 | 200 | 450 |
| 35 | - | - | - | - | 30 |





